LZ10002手动火灾报警按钮防雨罩
文章来源:www.gsthwxf.com作者:海湾消防公司人气:1615日期:2019-05-04 07:44:43



LZ10002手动火灾报警按钮防雨罩是碳钢材质,壁挂式安装,适用于在室外安装本安型手动报警按钮,防护等级IP65。可配套产品:J-SAB-G1(Ex)、J-SAF-GST9211A(Ex)手动火灾报警按钮。
海湾常用防爆场合的手动报警按钮型号有J-SAF-GST9211A(Ex)和J-SAM-GST9116。海湾防爆手动按钮在室外安装时可采用立柱和壁挂安装两种形式,本文将介绍两种海湾防爆手报按钮室外安装配套型号及示意图。
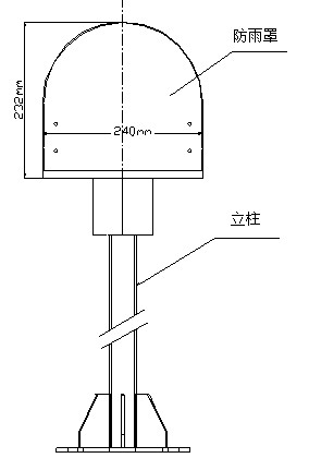
LZ10001型防雨罩与LZ1000型立柱配套安装示意图如图所示

LZ10002型防雨罩采用壁挂式安装,防护等级IP65,其外型尺寸及安装示意图如图所示

2、J-SAM-GST9116手动报警按钮室外立柱安装配套产品:LZ10011型防雨罩与LZ1001型立柱;壁挂安装时配套产品:LZ10011型防雨罩。
LZ10011型防雨罩与LZ1001型立柱配套安装示意图如图所示

壁挂安装方式示意图如图所示

海湾安全技术有限公司主营:海湾消防报警系统销售报价,消防工程改造,气体灭火、电气火灾安装,售后安装维修,检测,调试,海湾消防网址:http://www.gsthwxf.com/;海湾服务热线:18910580194
上一篇:海湾B-9310模块后备盒 | 下一篇:LZ10011手动火灾报警按钮防雨罩
此文关键字:
LZ10002手动火灾报警按钮防雨罩
推荐文章
- 海湾消防主机观察控制器显示:查看报警、故障及预警指示
- 海湾消防主机热敏打印机故障解决办法
- 海湾消防设备短路或接地故障导致控制器损坏之分析与防范
- 海湾消防通讯总线故障怎么解决
- 防火卷帘两侧的专用感温火灾探测器,跨越防火分区是否需设短路隔离器?
- 新规发布:学生宿舍必须安装火灾自动报警系统或具有联网功能的独立式火灾探测器!
- 气体探测器如何与防爆风机联动?
- 关于“海湾消防放气勿入指示灯故障,不能联动闪亮”问题的分析与改进建议
- 室内消火栓动压不达标该咋办?
- 【图解】海湾主机故障现象集合及维修处理经验分享






苏公网安备32058102002150号